○出雲市道の構造の技術的基準等を定める条例施行規則
| (平成25年出雲市規則第16号) |
|
|
(趣旨)
第1条 この規則は、出雲市道の構造の技術的基準等を定める条例(平成25年出雲市条例第19号。以下「条例」という。)の施行に関し必要な事項を定めるものとする。
(車線により構成されない車道の部分)
第2条 条例第5条第1項の規則で定める部分は、次に掲げるものとする。
[条例第5条第1項]
(1) 交差点
(2) 車両の通行の用に供するため分離帯が切断された車道の部分
(3) 乗合自動車停車所及び非常停車帯
(4) 付加追越車線、屈折車線、変速車線及び登坂車線のすりつけ区間
(5) 車線の数が増加し、若しくは減少する場合又は道路が接続する場合におけるすりつけ区間
(縦断勾配)
第3条 条例第24条の規則で定める基準は、次の表の縦断勾配の欄に掲げる値以下とするものとする。
| 区 分 | 設計速度
(単位 1時間につきキロメートル) | 縦断勾配
(単位 パーセント) |
|
| 第1種、第2種及び第3種 | 普通道路 | 100 | 6 |
| 80 | 7 | ||
| 60 | 8 | ||
| 50 | 9 | ||
| 40 | 10 | ||
| 30 | 11 | ||
| 20 | 12 | ||
| 小型道路 | 100 | 6 | |
| 第4種 | 普通道路 | 60 | 7 |
| 50 | 8 | ||
| 40 | 9 | ||
| 30 | 10 | ||
| 20 | 11 | ||
[条例第24条]
(舗装)
第4条 条例第27条第2項の規則で定める基準は、次条から第7条までに定めるところによる。
2 車道及び側帯の舗装は、自動車の安全かつ円滑な交通を確保するため、雨水を道路の路面下に円滑に浸透させることができる構造とする必要がある場合においては、前項に定めるところによるほか、第8条に定めるところによる。
[第8条]
(疲労破壊輪数)
第5条 疲労破壊輪数(舗装道において、舗装路面に49キロニュートンの輪荷重を繰り返し加えた場合に、舗装にひび割れが生じるまでに要する回数で、舗装を構成する層の数並びに各層の厚さ及び材質(以下「舗装構成」という。)が同一である区間ごとに定められるものをいう。以下同じ。)は、舗装計画交通量(舗装の設計の基礎とするために、道路の計画交通量及び2以上の車線を有する道路にあっては各車線の大型の自動車の交通の分布状況を勘案して定める大型の自動車の1車線あたりの日交通量をいう。以下同じ。)に応じ、次の表の右欄に掲げる値以上とするものとする。
| 舗装計画交通量
(単位 1日につき台) | 疲労破壊輪数
(単位 10年につき回) |
| 3,000以上 | 35,000,000 |
| 1,000以上3,000未満 | 7,000,000 |
| 250以上1,000未満 | 1,000,000 |
| 100以上250未満 | 150,000 |
| 100未満 | 30,000 |
2 前項の疲労破壊輪数の測定は、実地に行うものとする。ただし、当該舗装道の区間の舗装と舗装構成が同一である舗装の供試体を作成した場合には、当該供試体について測定することをもって、実地に行う測定に代えることができる。
3 当該舗装道の区間と舗装構成が同一である他の舗装道の区間の舗装が第1項の基準に適合することが明らかである場合は、当該舗装道の区間の舗装についても同項の基準に適合するものとみなす。
(塑性変形輪数)
第6条 塑性変形輪数(舗装道において、舗装の表層の温度を60度とし、舗装路面に49キロニュートンの輪荷重を繰り返し加えた場合に、当該舗装路面が下方に1ミリメートル変位するまでに要する回数で、舗装の表層の厚さ及び材質が同一である区間ごとに定められるものという。以下同じ。)は、道路の区分及び舗装計画交通量に応じ、次の表の右欄に掲げる値以上とするものとする。
| 区 分 | 舗装計画交通量
(単位 1日につき台) | 塑性変形輪数
(単位 1ミリメートルにつき回) |
| 第1種、第2種、第3種第2級及び第4種第1級 | 3,000以上 | 3,000 |
| 3,000未満 | 1,500 | |
| その他 | 500 |
2 前項の塑性変形輪数の測定は、実地に行うものとする。ただし、当該舗装道の区間の舗装と表層の厚さ及び材質が同一である舗装の供試体を作成した場合には、当該供試体について測定することをもって、実地に行う測定に代えることができる。
3 当該舗装道の区間の舗装と表層の厚さ及び材質が同一である他の舗装道の区間の舗装が第1項の基準に適合することが明らかである場合は、当該舗装道の区間の舗装についても同項の基準に適合するものとみなす。
(平たん性)
第7条 平たん性(舗装道の車道(2以上の車線を有する道路にあっては、各車線。以下この項において同じ。)において、車道の中心線から1メートル離れた地点を結ぶ、中心線に平行する2本の線のいずれか一方の線(条例第36条の規定に基づき凸部が設置された路面上の区間に係るものを除く。)上に延長1.5メートルにつき1箇所以上の割合で選定された任意の地点について、舗装路面と想定平たん舗装路面(路面を平たんとなるよう補正した場合に想定される舗装路面をいう。)との高低差を測定することにより得られる、当該高低差のその平均値に対する標準偏差で、舗装の表層の厚さ及び材質が同一である区間ごとに定められるものをいう。以下同じ。)は、2.4ミリメートル以下とするものとする。
[条例第36条]
2 前項の平たん性の測定は、実地に行うものとする。
(浸透水量)
第8条 浸透水量(舗装道において、直径15センチメートルの円形の舗装路面の路面下に15秒間に浸透する水の量で、舗装の表層の厚さ及び材質が同一である区間ごとに定められるものをいう。以下同じ。)は、道路の区分に応じ、次の表の右欄に掲げる値以上とするものとする。
| 区 分 | 浸透水量
(単位 15秒につきミリリットル) |
| 第1種、第2種、第3種第2級及び第4種第1級 | 1,000 |
| その他 | 300 |
2 前項の浸透水量の測定は、実地に行うものとする。
(合成勾配)
第9条 条例第29条第1項の規則で定める基準は、12.5パーセント以下とするものとする。
(交通安全施設)
第10条 条例第35条の規則で定める施設は、次に掲げるものとする。
[条例第35条]
(1) 駒止
(2) 道路標識
(3) 道路情報管理施設(緊急連絡施設を除く。)
(4) 他の車両又は歩行者を確認するための鏡
(防雪施設)
第11条 条例第39条第1項の規則で定める施設は、次に掲げるものとする。
(1) 吹きだまり防止施設
(2) 雪崩防止施設
(橋、高架の道路等の構造)
第12条 条例第41条第2項の規定により規則で定める橋、高架の道路その他これらに類する構造の道路(以下「橋等」という。)の構造は、当該橋等の構造形式及び交通の状況並びに当該橋等の存する地域の地形、地質、気象その他の状況を勘案し、死荷重、活荷重、風荷重、地震荷重その他の当該橋等に作用する荷重及びこれらの荷重の組合せに対して十分安全なものでなければならない。
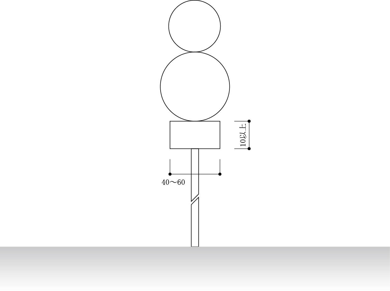
(道路標識の寸法等)
第13条 条例第46条の規則で定める寸法は、別表のとおりとする。
(その他)
第14条 この規則に定めるもののほか、道路の構造の技術的基準等に関し必要な事項は、市長が別に定める。
附 則
この規則は、平成25年4月1日から施行する。
別表(第13条関係)
案内標識
| 都府県 | 入口の方向 | 入口の方向 |
| 102-B | 103-A | 103-B |
| 入口の予告 | 方面及び距離 | 方面及び車線 |
| 104 | 106-B | 107-A |
| 方面及び車線 | 方面及び方向 | 方面及び方向 |
| 107-B | 108の2-D | 108の2-E |
| 出口の予告 | 方面及び出口の予告 | 方面及び出口の予告 |
| 109 | 110-A | 110-B |
| 方面、車線及び出口の予告 | 方面、車線及び出口の予告 | 方面及び出口 |
| 111-A | 111-B | 112-A |
| 方面及び出口 | 出口 | 出口 |
| 112-B | 113-A | 113-B |
| サービス・エリアの予告 | サービス・エリアの予告 | サービス・エリアの予告 |
| 116-A | 116-A | 116-B |
| サービス・エリア | サービス・エリア | サービス・エリア |
| 116の2-A | 116の2-A | 116の2-B |
| 非常電話 | 待避所 | 非常駐車帯 |
| 116の2 | 116の3 | 116の4 |
| 駐車場 | 駐車場 | 登坂車線 |
| 117-A | 117-B | 117の2-A |
| 登坂車線 | 総重量限度緩和指定道路 | 総重量限度緩和指定道路 |
| 117の2-B | 118の3-A | 118の3-B |
| 高さ限度緩和指定道路 | 高さ限度緩和指定道路 | 高さ限度緩和指定道路 |
| 118の4-A | 118の4-B | 118の4-C |
| 高さ限度緩和指定道路 | 道路の通称名 | 道路の通称名 |
| 118の4-D | 119-A | 119-B |
| 道路の通称名 | 道路の通称名 | まわり道 |
| 119-C | 119-D | 120-A |
警戒標識
| 本標識板の規格 | ||
| 十形道路交差点あり | 右(又は左)方屈曲あり | 信号機あり |
| 201-A | 202 | 208の2 |
| 落石のおそれあり | 路面凹凸あり | 合流交通あり |
| 209の2 | 209の3 | 210 |
| 車線数減少 | 幅員減少 | 二方向交通 |
| 211 | 212 | 212の2 |
補助標識
| 補助標識板の規格 | |
| 注意事項 | |
| 510 | |
備考
1 本標識板(本標識の標示板をいう。)
(1) 寸法
ア 寸法が図示されているものについては、図示の寸法(その単位はセンチメートルとする。以下同じ。)を基準とする。
イ 道路法(昭和27年法律第180号)第48条の4に規定する自動車専用道路(以下「自動車専用道路」という。)に設置する案内標識で、地名が表示されているものについては、地名を表示する文字の字数の多少により図示の横寸法を拡大し、又は縮小することができる。
ウ 自動車専用道路に設置する案内標識については、図示の寸法の3倍まで拡大することができる。
エ 自動車専用道路に設置する警戒標識については、設計速度が60キロメートル毎時以上の自動車専用道路に設置する場合にあっては図示の寸法の2倍まで、設計速度が100キロメートル毎時以上の自動車専用道路に設置する場合にあっては図示の寸法の2.5倍まで、それぞれ拡大することができる。
オ 自動車専用道路以外の道路に設置する「駐車場」を表示する案内標識については、便所を表す記号を表示する場合にあっては、図示の横寸法を図示の寸法の2.5倍まで拡大することができる。
カ 自動車専用道路以外の道路に設置する「駐車場」、「総重量限度緩和指定道路(118の3-A・B)」、「高さ限度緩和指定道路(118の4-A・B)」及び「まわり道(120-A)」を表示する案内標識並びに警戒標識については、道路の形状又は交通の状況により特別の必要がある場合にあっては、図示の寸法(オに規定するところにより図示の横寸法を拡大する場合にあっては、当該拡大後の図示の寸法)の1.3倍、1.6倍又は2倍に、それぞれ拡大することができる。
キ 自動車専用道路以外の道路に設置する「登坂車線」及び「道路の通称名」を表示する案内標識については、道路の形状又は交通の状況により特別の必要がある場合にあっては、図示の寸法の1.5倍又は2倍に、それぞれ拡大することができる。
ク 自動車専用道路以外の道路に設置する「道路の通称名」を表示する案内標識については、表示する文字の字数により図示の横寸法(「道路の通称名(119-C)」を表示するものについては、縦寸法)を拡大することができる。
(2) 文字等の大きさ等
ア 寸法が図示されている文字及び記号の大きさは、図示の寸法を基準とする。
イ 自動車専用道路以外の道路に設置する案内標識で、「入口の方向」、「入口の予告」、「方面、方向及び道路の通称名の予告」、「方面、方向及び道路の通称名」、「著名地点(114-B)」、「非常電話」、「待避所」、「非常駐車帯」、「駐車場」、「登坂車線」、「総重量限度緩和指定道路」、「高さ限度緩和指定道路(118の4-A・B)」、「道路の通称名」及び「まわり道」を表示するもの以外のものの文字の大きさは、道路の設計速度に応じ、次の表の右欄に掲げる値(ローマ字にあっては、その2分の1の値)を基準とする。ただし、必要がある場合にあっては、これを1.5倍、2倍、2.5倍又は3倍に、それぞれ拡大することができる。
| 設計速度
(単位 キロメートル毎時) | 文字の大きさ
(単位 センチメートル) |
| 70以上 | 30 |
| 40、50又は60 | 20 |
| 30以下 | 10 |
ウ 「方面、方向及び道路の通称名の予告」及び「方面、方向及び道路の通称名」を表示する案内標識については、矢印外の文字の大きさは、イの規定によるものとし、矢印中の文字の大きさは、矢印外の文字の大きさの0.6倍の文字の大きさとする。
エ 「著名地点(114-B)」を表示する案内標識の文字の大きさは、10センチメートルを標準とする。
オ 「市町村」及び「都府県」並びに「方面、方向及び距離」、「方面及び距離」、「方面及び車線」、「方面及び方向の予告」、「方面及び方向」、「方面、方向及び道路の通称名の予告」、「方面、方向及び道路の通称名」、「方面及び出口の予告」、「方面、車線及び出口の予告」、「方面及び出口」及び「著名地点」を表示する案内標識に、それぞれ市町村章、都府県章及び公共施設等の形状等を表す記号を表示する場合の当該記号の大きさは、日本字の大きさの1.7倍以下の大きさとする。
カ 自動車専用道路に設置する「方面及び方向」を表示する案内標識に路線を表す記号を表示する場合の当該記号の大きさは、経由路線を表す記号については日本字の大きさの1.6倍以下、方面としての路線を表す記号については日本字の大きさの0.9倍以下の大きさとする。
キ 自動車専用道路以外の道路に設置する「駐車場」を表示する案内標識に便所を表す記号を表示する場合の当該記号の大きさは、駐車場を表示する記号の0.7倍以下の大きさとする。
ク 縁、縁線及び区分線の太さは、次の寸法を基準とする。
(ア) 案内標識
縁は、自動車専用道路以外の道路に設置するもので、「待避所」、「駐車場」及び「まわり道(120-B)」を表示するものについては9ミリメートル、「総重量限度緩和指定道路(118の3-A・B)」及び「高さ限度緩和指定道路(118の4-A・B)」を表示するものについては16ミリメートル、「登坂車線」を表示するものについては10ミリメートル、「道路の通称名」を表示するものについては8ミリメートル、その他のものについては日本字の大きさの20分の1以上の太さとし、縁線及び区分線は、日本字の大きさの20分の1以上の太さとする。
(イ) 警戒標識
縁及び縁線は、12ミリメートルとする。
2 補助標識板(補助標識の標示板をいう。)
寸法
(1) 図示の寸法を基準とする。
(2) 補助標識は、その附置される本標識板の拡大率又は縮小率と同じ比率で拡大し、又は縮小することができる。